美 7 巨头市值蒸发1.5万亿美元;微软50周年曝大量 AI 新产品;Altman:GPT-5 几个月内发布

美股科技「七姐妹」两个交易日市值蒸发 1.5 万亿美元
周五美股开盘继续下挫,美国科技七巨头无一幸免。近两个交易日(周三收盘至周五开盘),有着美股「七姐妹」之称的苹果、英伟达、Meta、谷歌、微软、亚马逊、特斯拉等 7 只股票总市值蒸发 14900 亿美元。
苹果公司在这波下跌中损失最大,这家科技巨头市值减少 4159 亿美元,已不足 3 万亿美元。亚马逊次之,市值损失 3106 亿美元。英伟达则总蒸发 2579 亿美元,为第三惨烈个股。其他四只股票,总市值蒸发 720 亿美元-2000 亿美元不等。(来源:界面新闻)
国务院关税税则委员会:对原产于美国的所有进口商品加征 34% 关税
国务院关税税则委员会 4 月 4 日发布公告,2025 年 4 月 2 日,美国政府宣布对中国输美商品征收「对等关税」。美方做法不符合国际贸易规则,严重损害中方的正当合法权益,是典型的单边霸凌做法。
根据《中华人民共和国关税法》、《中华人民共和国海关法》、《中华人民共和国对外贸易法》等法律法规和国际法基本原则,经国务院批准,自 2025 年 4 月 10 日 12 时 01 分起,对原产于美国的进口商品加征关税。有关事项如下:
一、对原产于美国的所有进口商品,在现行适用关税税率基础上加征 34% 关税。
二、现行保税、减免税政策不变,此次加征的关税不予减免。
三、2025 年 4 月 10 日 12 时 01 分之前,货物已从启运地启运,并于 2025 年 4 月 10 日 12 时 01 分至 2025 年 5 月 13 日 24 时进口的,不加征本公告规定加征的关税。(来源:界面)

知情人士回应余承东卸任车 BU 董事长:并非不管汽车业务,更加聚焦华为终端与鸿蒙智行
华为官网和余承东的个人微博认证信息发生变更,其职位目前为「常务董事、终端 BG 董事长」,不再包含「智能汽车解决方案 BU 董事长」。

知情人士向新浪科技表示,余承东不再兼任华为车 BU 董事长,不是不管汽车业务,而是更加聚焦华为终端与鸿蒙智行。鸿蒙智行以高「含华量」打造了独特的汽车生态应用场景。引望正在装载华为原车 BU 业务,推广解决方案,二者布局清晰、分工明确。(来源:新浪科技)
Sam Altman 改变计划:可能在几周内发布 o3 和 o4-mini,几个月内发布 GPT-5
4 月 4 日消息,OpenAI CEO Sam Altman 在社交平台 X 上发文称,可能在数周内发布 o3 和 o4-mini,未来几月内发布 GPT-5。
Sam Altman 称,这是为了能够使 GPT-5 比最初设想的更好。团队还发现,顺利整合所有内容比想象的要困难,希望有足够的产能来支持预期的需求。

图片来源:X
此前,他曾表示,OpenAI 的一个重要目标是「将 o 系列模型与 GPT 系列模型统一起来,通过创建能够使用我们所有工具的系统,这些系统知道何时需要长时间思考,何时不需要,能够广泛适用于各种任务。」
当时,OpenAI 计划将 GPT-5 作为整合了多项技术的系统发布,其中包括 o3 技术,「o3 将不再作为独立模型推出。」o3 技术在 2024 年 12 月首次预告,随后 OpenAI 于 2025 年 1 月推出了 o3-mini 版本。(来源:IT 之家)

ChatGPT Plus 现已免费向美国和加拿大的大学生开放
OpenAI 的 ChatGPT 正在迅速发展成为最广泛使用的在线服务之一。上周,OpenAI 报告称,每周有 5 亿人使用 ChatGPT。最近发布的改进的图像生成功能也广受欢迎,吸引了数百万新用户加入该平台。
超过 1.3 亿用户已经使用 ChatGPT 创建了超过 7 亿张图片。周一,OpenAI 首席执行官 Sam Altman 透露,ChatGPT 在 26 个月前推出后五天内就吸引了 100 万用户,而新的病毒式图像生成功能仅在一小时内就吸引了 100 万用户。
OpenAI 借此势头,向美国和加拿大所有授予学位学校的全日制和非全日制学生免费提供 ChatGPT Plus 订阅,有效期至 5 月。学生身份通过 SheerID 的安全验证系统进行验证。已经订阅 ChatGPT Plus 的学生将获得两个月的积分。(来源:cnBeta)
国家应急管理部就小米 SU7 事故发文:目前市售智驾车辆最多只属于 L2 级
4 月 4 日消息,针对小米 SU7 出现的事故,国家应急管理部公开表示,目前市售智驾车辆最多只属于 L2 级,所以大家千万别过于相信和神话自动驾驶。
国家应急管理部就 3 月 29 日小米 SU7 重大事故发文称,依据我国的《汽车驾驶自动化分级》国标,自动驾驶技术根据自动化程度的不同,被分为 L0 到 L5 六个级别。其中,L0 级、L1 级、L2 级都只能称为辅助驾驶系统。目前,市售车辆提供的智能辅助驾驶功能,最多也只属于 L2 级。(来源:快科技)
「共享无人机」新体验,多地提供大疆 NEO「扫码即飞」服务
近期,一种新型共享无人机服务在全国多个城市悄然兴起,其便捷性类似于共享充电宝,迅速吸引了广大市民的关注与尝试。

图片来源:微博@百车全说三刀
以南京滨江公园为例,有目击者拍摄到了一组共享无人机机柜的照片。这组机柜内整齐排列着五架无人机,每架的使用费用为每分钟 3 元,单次飞行时长可达 20 分钟。更为贴心的是,机柜内还配备了充电接口,方便无人机自行充电,确保下一位用户能够无缝衔接使用。(来源:ITBEAR)

亚马逊测试新产品:可以为用户从其他购物网站买产品
亚马逊正在测试一个新的「为我购买」按钮,该按钮可让您从第三方网站购买产品,而无需离开这家电子商务巨头的移动应用程序。该功能由 Agentic AI 提供支持,允许公司代表您购买商品。

上个月,亚马逊推出了一项测试,将您引导至其他品牌的网站,购买其不销售的产品。但现在,「代买」不再引导您到网站填写付款详情和送货地址,而是为您完成所有工作。该功能运行在亚马逊的 Nova AI 系统上,该系统现在包含一个能够在浏览器中执行操作的新模型,以及 Anthropic 的 Claude。
当点击支持此功能的商品时,可以直接在亚马逊应用程序中看到所有产品详细信息。按「为我购买」按钮将打开亚马逊结帐页面,您可以在其中验证您的付款信息。(来源:cnBeta)
微软 Copilot 增加记忆、操控网页、创建播客等海量功能
4 月 5 日消息,随着庆祝微软成立 50 周年,该公司一次性更新了 Copilot 的许多新功能,使其更接近 ChatGPT 或 Claude 等替代品。
Copilot 现在支持记忆、个性化、基于 Web 的操作、播客创建、摄像头和屏幕分析、深度研究等功能。

Copilot 现在将能够跟踪用户的偏好、兴趣以及如生日等详细信息,并利用这些信息定制回复和建议或主动提出建议。微软表示,用户可以选择他们希望 Copilot 记住的信息,或者完全退出。
这是使 Copilot 更加个性化的持续努力的一部分。微软表示,公司「在这个思考的早期阶段」,但「很快」用户将能够为 Copilot 定制外观。(来源:IT 之家)
Midjourney 发布 AI 图片生成模型 V7,可「吟唱」生图
4 月 4 日消息,Midjourney 公司在 X 上发文宣布,旗下 AI 图片生成模型开启 V7 版本 alpha 测试,主要更新了「草图模式」。
根据官方介绍,在常规更新方面,V7 版本增强了文本理解能力并升级了细节纹理质感,人物肢体 / 手部 / 物体结构等连贯性都有提升,同时 V7 版本将默认启用「个性化模型」功能,该功能可学习用户偏好,实现更精准的创意解读,用户可随时开关。

截图来源:X
本次 V7 版本最大的升级是全新的「草图模式」,该模式在耗时与资源消耗方面仅为标准模式的 50%,在此模式下网页端编辑器将自动切换为「对话式交互界面」,同时可进行实时编辑(如输入「将猫替换成猫头鹰」或「转为夜景」等指令,系统可自动根据提示词调整生成新作品)。
在「草图模式」下,用户还可以使用语音识别生成功能,只需要在启用「草图模式」后点击麦克风图标,即可通过语音实时塑造图片;且该模式还支持指令扩展,只需要在提示词后加入「--draft」参数,即可使用多版本迭代、批量生成等进阶功能。同时根据博主 @ 歸藏的 AI 工具箱 测试,该模式下可用中文进行语音识别生图。(来源:IT 之家)

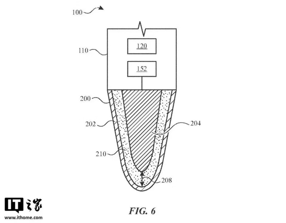
苹果 Apple Pencil 新专利曝光:笔尖能变硬变软,画画如真实笔触
4 月 4 日消息,科技媒体 patentlyapple 发布博文,报道称苹果公司获批一项新专利,涉及未来 Apple Pencil 的升级方向。

专利显示,新款 Apple Pencil 或支持动态调节笔尖的尺寸、形状、硬度等特性,以模拟不同书写工具(如钢笔、粉笔、画笔)的触感。(来源:IT 之家)

微软 50 周年官方纪念壁纸发布
4 月 4 日消息,微软本周正在庆祝其 50 岁生日,这家软件巨头成立于 1975 年 4 月 5 日,开启了半个世纪的软件创新和硬件发展。
当日,微软发布了 50 周年官方纪念壁纸,其中包含了微软标志性的产品,例如扫雷、纸牌、麻将、画图、Internet Explorer、Windows、Windows XP 中的郁金香壁纸等等。(来源:IT 之家)
